Определение напряженно деформированного состояния системы перекрестных стержней от воздействия распределенной нагрузки и сосредоточенной силы в их плоскости.
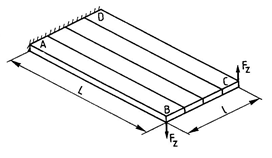
Определение напряженно деформированного состояния консольной пластины.
Комбинированная нагрузка (поперечное давление, сосредоточенная сила) в одной плоскости без учета деформаций поперечного сдвига. Проверяются перемещения и усилия.
Нагрузка балки, защемленной по концам, в одной плоскости без учета деформаций поперечного сдвига. Проверяются значения максимального поперечного перемещения и изгибающих моментов.
Определение напряженно деформированного состояния балки, защемленной с двух концов, от действия равномерно распределенной нагрузки, сосредоточенных продольных и поперечных сил и изгибающего момента.
Определение напряженно деформированного состояния цилиндра со свободными торцами под внутренним давлением.
Определение напряженно-деформированного состояния круглой пластины.
Определение напряженно-деформированного состояния балки на упругом горизонтальном основании от воздействия сосредоточенных вертикальных сил.
Определение напряженно деформированного состояния цилиндрической оболочки под собственным весом.
Определение напряженно-деформированного состояния тора под внутренним давлением.
Определение напряженно-деформированного состояния консольной узкой пластины от воздействия пары сил, вызывающих ее кручение.
Деформированное состояние трехступенчатой шарнирно-опертой балки, нагруженной сосредоточенными силами, без учета деформации поперечного сдвига. Проверяются поперечные перемещения и углы поворота.
Определение напряженно деформированного состояния двухпролетной свободно опертой балки с промежуточной податливой опорой под действием сосредоточенных поперечных сил, расположенных в середине пролетов.
Определение напряженно деформированного состояния вертикальной призмы под действием нагрузки от собственного веса.
В LIRA-FEM 2025 (система ГРУНТ) реализован расчет прочности основания в соответствии с нормами EN 1997-1:2004 (Eurocode 7: Geotechnical design – Part 1: General rules).
Многие нормативные документы регламентируют процесс расчёта нагрузки от ветра на поверхности крыш различной формы. Предлагаются таблицы, устанавливающие связь между геометрическими параметрами крыши и коэффициентами для определения ветрового давления на различных участках поверхности крыши. Если значения параметров не представлены в таблицах, предп...
Нередко возникает задача учитывать собственный вес огнезащитной обмазки или других покрытий, наносимых на стержневые элементы конструкций (балки, колонны).
В версии LIRA-FEM 2025 реализована новая программная защита от немецкой компании WIBU-SYSTEMS AG. В статье описывается общая информация о типах ключей. Содержится инструкция по настройке сетевого сервера лицензий CodeMeter (CodeMeter network license server)
Являясь полноценным препроцессором для LIRA-FEM, подсистема LIRA-CAD позволяет не только моделировать конструкции, но и задавать/моделировать нагрузки.
Одной из задач компьютерной графики является формирование выразительных изображений объектов виртуального мира на экранах ваших видеомониторов. Так уж повелось, что любые сколь бы то ни было криволинейные поверхности на финальных этапах визуализации вынуждены стать плоскими треугольниками. Подобно тому, как в МКЭ, какими бы ни были контуры плит, на...