Objective

To determine the stress–strain state of a narrow cantilever plate subjected to a couple of forces that cause torsion.

Reference

J. Robinson, Element evaluation. A set of assessment parts and tests, Proceeding of Finite Element Methods in the commercial environment, vol. 1, October 1978.
J.L. Batoz et M.B. Tahar, Evaluation of new quadrilateral thin plate boundary element, International Journal for numerical methods in engineering, vol. 18, Jon Wiley & Sons, 1982.

Problem statement

To determine the vertical displacement Z at the corner of the free edge of the plate (point C).

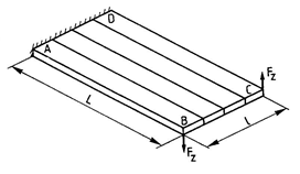
Design model

A narrow cantilever plate subjected to vertically applied, balanced concentrated loads acting at the corners of the free edge.

Initial geometry of analytical model

Initial geometry of FE model

a

b


Initial geometry of: a - analytical model; b - FE model

Geometry

Plate thickness h = 0.05 m;
Cantilever projection L = 12 m;
Relative thickness h/L = 0.0042;
Plate width l = 1 m.

Material properties

Modulus of elasticity Å = 1.0 * 107 Pa;
Poisson's ratio ν = 0.25.

Boundary conditions

Along segment AD, the plate finite elements are fully fixed in all degrees of freedom (X, Y, Z, uX, uY, uZ).

Loads

Vertical concentrated load Fz = 1 N.

Output data

Design and deformed shapes

Design and deformed models

Mosaic plot of vertical displacements Z (w), m

Mosaic plot of vertical displacements Z (w), m

Comparison of calculation results

Point The unknown Analytical solution LIRA-FEM Error, %
Ñ w, m 0,03537 0,03533 0,1131

Download verification test


If you find a mistake and want to inform us about it, select the mistake, then hold down the CTRL key and click ENTER.

  • 233


Comments

Write