Objective

To determine the stress–strain state of a prismatic beam subjected to a bending moment.

Reference

S. Timoshenko, Théorie de l’élasticité, Paris, Librairie Polytechnique Ch. Béranger, 1961, P. 284-289.

Problem statement

To determine the displacement in the X direction at point A, in the Z direction at point B, and in the Y direction at points D, E, F, and G.

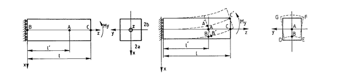
Design model

A cantilever prismatic beam subjected to a bending moment applied at the free end.

Initial geometry of analytical model

Initial geometry of analytical model

Initial geometry of FE model, variant 1

Initial geometry of FE model, variant 2

Variant 1

Variant 2


Initial geometry of FE model

Geometry

Length l = 6 m
Dimensions of a cross-section a = b = 1 m
Ordinate of the control section l′ = (2/3)l = 4 m

Material properties

Modulus of elasticity Å = 2 * 105 MPa
Poisson's ratio ν = 0,3.

Boundary conditions

Restraints in all displacement directions at point B (X=Y=Z=0).
On the plane passing through point B, restraints preventing displacement in the Z direction are applied, together with symmetry restraints.

Loads

A moment about the Y axis is applied at point C:  My = 4/3 * 107 N*m = 1359,62 t*m.

Output data

Initial and deformed shapes, variant 1

Ïî÷àòêîâà òà äåôîðìîâàíà ñõåìè, âàð³àíò 2

Variant 1

Variant 2


Initial and deformed models

Mosaic plot of displacements Õ (mm), variant 1

Mosaic plot of displacements Õ (mm), variant 2

Variant 1

Variant 2


Mosaic plot of displacements Õ, mm

Mosaic plot of displacements Z (mm), variant 1

Mosaic plot of displacements Z (mm), variant 2

Variant 1

Variant 2


Mosaic plot of displacements Z, mm

Mosaic plot of displacements Y (mm), variant 1

Mosaic plot of displacements Y (mm), variant 2

Variant 1

Variant 2


Mosaic plot of displacements Y, mm

Analytical solution

σxx = σyy = σxy = σyx = σzx = 0
u = -l’2/2R
w = l’2/R
v = ν(a2/R)

Comparison of calculation results

Point The unknown Analytical solution LIRA-FEM Error, %
Variant 1 Variant 2 Variant 1 Variant 2
À Õ, m -4*10-4 -3,9174*10-4 -3,9884*10-4 2,065 0,29
À Õ, m 2*10-4 1,947*10-4 1,9821*10-4 2,65 0,895
F, G, D, E Y, m 0,15*10-4 0,14686*10-4 0,14948*10-4 2,0933 0,3467

Download verification test


If you find a mistake and want to inform us about it, select the mistake, then hold down the CTRL key and click ENTER.

  • 150


Comments

Write